
Novità Campagnolo: leva 3 intelligente e cambio a pollice, sarà rivoluzione?
Giovanni Bettini

Novità Campagnolo: leva 3 intelligente e cambio a pollice, sarà rivoluzione?
Giovanni Bettini
Il gruppo Super Record Wireless e il più recente Super Record S hanno mandato in pensione l'iconica leva 3 che dal 1992 ha caratterizzato generazioni di comandi Ergopower. Ora una novità Campagnolo racchiusa nel brevetto USPTO (United States Patent and Trademark Office) US-20240351663-A1 sembra rivoluzionare l'interfaccia tra ciclista e gruppo trasmissione grazie a una nuova leva 3.
Più intelligente e dotata di funzionalità finora mai viste.
A tutto ciò si aggiunge una soluzione tecnica futuristica...

Il nuovo concetto e la realtà
Un brevetto depositato non è certo sinonimo di sicura industrializzazione.
Blindare la proprietà intellettuale oltreoceano, però, è già un bell'indizio e mette in guardia la concorrenza.
Cosa promette realmente la nuova trasmissione? Quale il ruolo della rediviva leva 3?
Innanzitutto questa novità Campagnolo non ha direttamente a che fare con l'ergonomia (già vista in passato appunto), ma con le funzionalità.
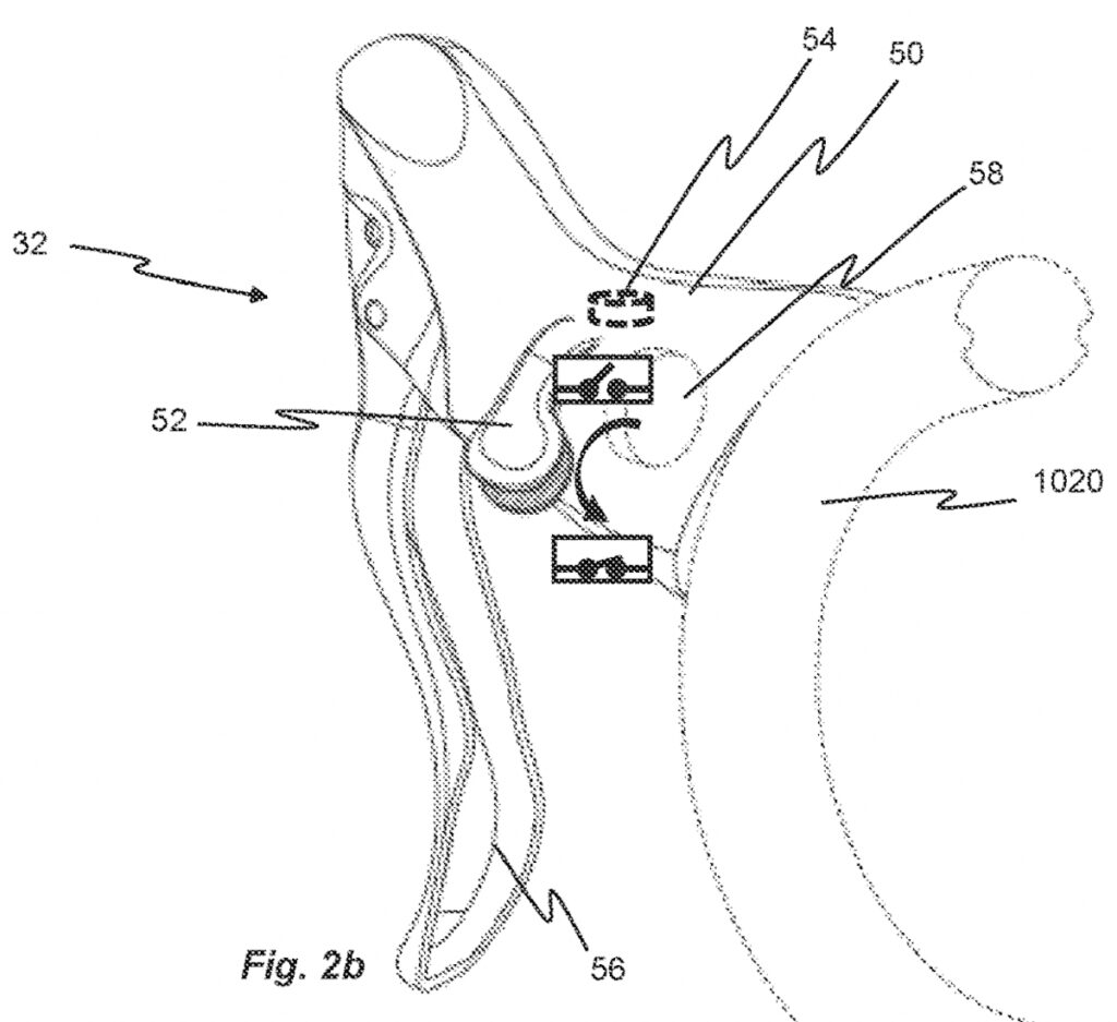
Attraverso diverse tempistiche di pressione secondo il marchio vicentino sarebbe possibile controllare sia il deragliatore anteriore che quello posteriore.

C'è una certa analogia con le trasmissioni Sram eTap AXS e AXS che prescrivono cambiate frutto di un input elettronico derivante dalla leva 2, quella posta dietro la leva freno (leva 1).
Attraverso questa innovazione Campagnolo punta a concentrare la discesa e la salita del cambio su un unico pulsante ancorato al lato interno del corpo comando.

Il brevetto mostra poi il secondo comando che non presenta la leva 3, ma un'unica leva 2 forata.
Un design ibrido, quindi, che incrocia la filosofia del "cambio a pollice" tipica degli Ergopower con nuove funzionalità intelligenti che intendono "fornire un'interfaccia semplice e di facile fabbricazione".
C'è poi un terza dimensione.

Novità Campagnolo e quel sensore sul dito
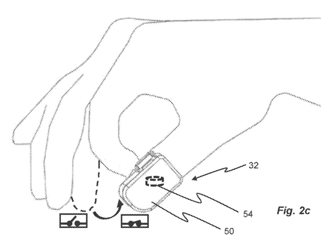
Dal brevetto pubblicato il 24 ottobre scorso emerge la possibilità di gestire il gruppo trasmissione o funzionalità ausiliarie, come il reggisella telescopico, attraverso un dispositivo indossabile applicato proprio sul pollice.
L'input può essere attivato con un tocco dell'indice in opposizione.
Sembra essere fantascienza e invece è tutto brevettato.
Solo il tempo sarà in grado di dirci se questa visione futuristica sarà in grado di debuttare sul mercato.

Per maggiori informazioni sul gruppo Super Record Wireless: campagnolo.com/it
Nel contenuto qui sotto il confronto tra i due gruppi di ultima generazione del marchio vicentino.

Condividi con
Tags
Sull'autore
Giovanni Bettini
"I poveri sono matti" diceva Zavattini. Anche i ciclisti oserei dire. Sono diventato "pazzo" guardando Marco Pantani al Tour de France 1997 anche se a dire il vero qualcosa dentro si era già mosso con la mitica tappa di Chiappucci al Sestriere. Prima le gare poi le esperienze in alcune aziende del settore e le collaborazioni con le testate specializzate. La bici da strada è passione. E attenzione: passione deriva dal greco pathos, sofferenza e grande emozione.




